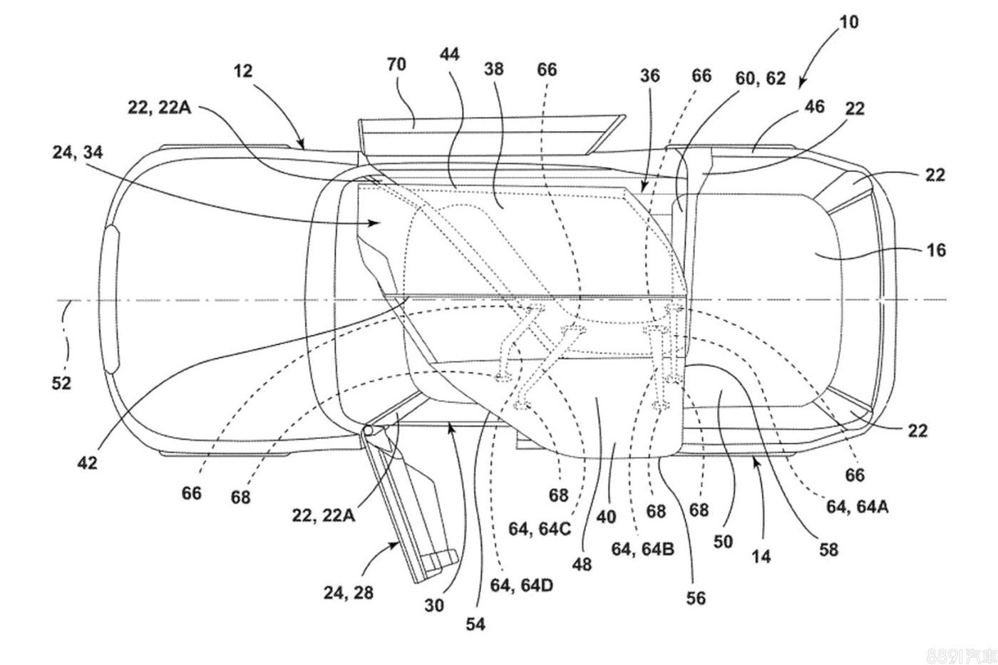
美國專利商標局近期曝光一組由福特提交的專利概念圖,圖中展示一款搭載單側歐翼門的全新休旅,車門開啟方式與特斯拉Model X頗為相似,同樣都是門板連同車頂一起向上掀開,而且車門開啟時下方門檻還會一併放下,成功為其創造出十分開闊、友善的進出空間。
從側面角度來看,可以發現整台車右側僅設置一個開口,門板面積顯得十分巨大,內部座椅排列方式也很特殊,除副座不見蹤跡外,後排座椅的坐向也改朝側面,搭配前方小桌設定,拿來當作露營車或福祉車應該都挺適合。
車輛左側似乎也只有駕駛座一個開口,算是另類的「雙門」設定,雖然這項專利近期才曝光,但從資料來看,其實福特早在2021年10月就提交了這份專利申請,推算車輛研發時程,或許不久的將來就有機會看到這項產品正式公諸於世。
隨特斯拉Model X搭鷗翼式車門?福特全新SUV專利曝光
作者:Rrrr弘
2023-04-24
6,285
溫馨提示:文字共325個字,3張圖,閱讀約需要2分鐘
說到搭載鷗翼式車門的SUV你會想到誰?除了特斯拉Model X外,福特也可能推出一款車門造型獨具特色的全新休旅!
- 沒有我想看的
- 像廣告文
- 比較不夠詳盡
- 比較不夠全面
- 內容與事實不符
- 文章內容不具參考性
- 其他
確定
取消
