先前傳出豐田在美國專利商標局申請註冊了「電動車手排系統」,讓人就算開電動車也能踩離合器、打排檔,不過這消息後來也沒有太多下文,直到近日流出一份專利圖,看起來豐田是認真的!
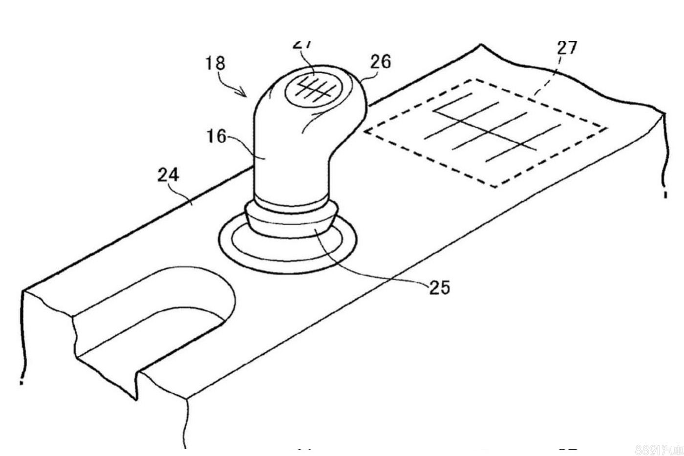
此「變速箱」透過電動馬達的控制器與軟體調校,最多能模擬14個檔位,從圖片上看來,排檔桿上包含倒車檔共有7個檔位,而14檔的操作方式類似卡車,分為高、低速檔,每個排檔桿位置對應2個檔位,當駕駛掛到7檔時,電腦會將變速箱自動切換到高速擋位模式,這樣下一次就能掛到8~14檔。
除了手排檔以外,這套系統還會有完整的離合器踏板、類似引擎煞車、空擋滑行等傳統手排車的特性,操作失誤甚至還會模擬熄火,目的就是要使駕駛者產生類似手排車的駕駛感受,就算開電動車,也能享受燃油車時代的樂趣。
據外媒報導,今年日本移動展現身的FT-Se純電概念跑車未來若正式量產,很有可能就會配置這套模擬手排系統,時間預計最快是2026年。不論這套「模擬14速手排」系統最終是否會真的實現,可能有人還會覺得這是畫蛇添足,但至少是個有趣的概念,目前沒有任何普通手排乘用車用過7個以上的檔位,難道有天大家真的可以像電影玩命關頭一樣,有換不完的檔了嗎?
豐田「電動車模擬手排」專利圖曝光 竟可達14速!
作者:小明
2023-12-08
3,294
溫馨提示:文字共488個字,4張圖,閱讀約需要2分鐘
豐田玩真的!?不只要搞電動車的模擬手排系統,居然還可以打到「14檔」!
- 沒有我想看的
- 像廣告文
- 比較不夠詳盡
- 比較不夠全面
- 內容與事實不符
- 文章內容不具參考性
- 其他
確定
取消
