●比起傳統雨刷更省電
●結構更簡單、耐用

其實雨刷並不是在汽車一出現時便有的零配件,1885年發明了第一輛汽車,1908年開始大量生產汽車,直到1917年才有雨刷的原型現身,一開始還是手動的設計,逐漸改良成電動馬達驅動之後,直到現在都沒有太大的革新,但Tesla打算針對自身車輛採用新的雨刷設計。

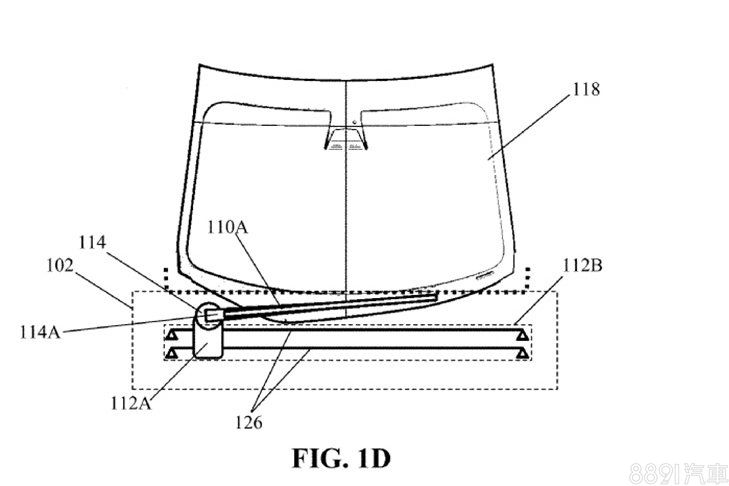
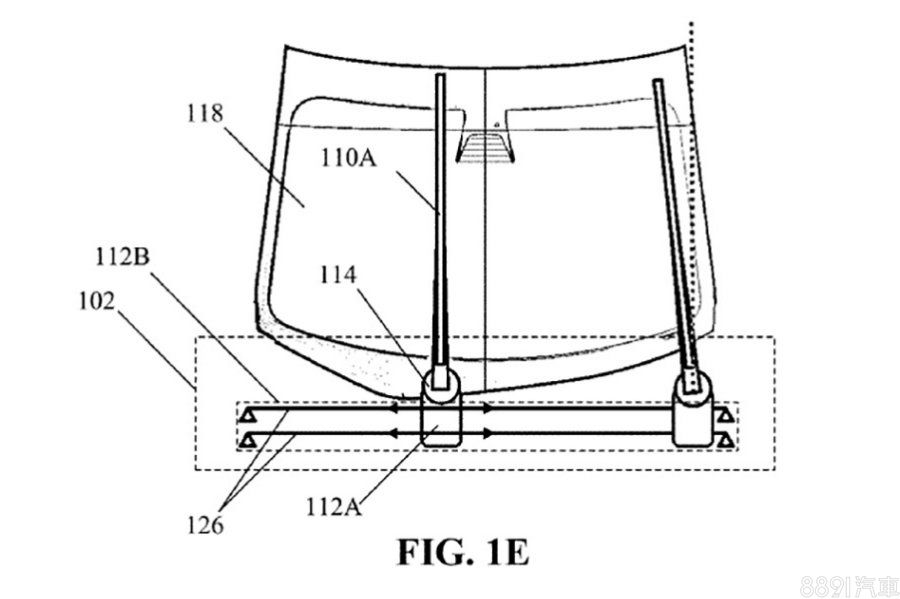
在最新提交的專利文件當中,他們將採用磁浮的概念設計,過往雨刷都是利用多支連桿讓雨刷進行轉動,而Tesla新的雨刷則是在擋風玻璃下緣新增一條軌道,下雨時會將雨刷直立之後,在軌道上進行左右來回移動,達成刷去雨水的功能。

這項新的技術除了採用磁浮系統之外,過往的連桿機構也一併移除,讓整體的構造更為簡潔,同時也會達到節省電能的效果,這樣也有助於電動車的續航里程,雖然節電的幅度很有限,但綜合更多相關的節電技術,還是會有所幫助。

且因為結構更加簡單的關係,在耐久性以及可靠度上也有一定程度的加分,相關的零件比較不會受到生鏽而有所影響,畢竟Tesla的自動駕駛科技有很大一部份是依賴擋風玻璃上的攝影鏡頭,若是清潔的效率不佳也將影響車輛的安全性。

而新型的設計也會讓整體的雨刷面積更為寬廣,駕駛人的視野可以更好一些,雖然目前並沒有任何關於這項專利甚麼時候會付諸行動,但相信Tesla已經掌握了相關的技術,在未來的車型當中搭載上全新的科技產品。






