●賓士A柱氣囊專利
●Apple自駕車防撞專利
●ZF氣囊保護駕駛與副駕駛
Google新專利 撞到人車身變「軟」
Google旗下自動駕駛車公司Waymo今年發表一項新專利,就是讓汽車遭受撞擊時,可以改變汽車表面的硬度。

Waymo的這項設計,是透過在汽車上配備傳感器,並在汽車車身、保險桿等部分配置可改變車體張力的特殊結構設計;藉由傳感器來偵測周邊的物體、環境,當汽車撞到行人時,車身的硬度會做出改變,像是變得較為柔軟。

Waymo尚未確定這項發明未來是否會真正運用在自駕車上,但如此巧思真的相當具備創意。
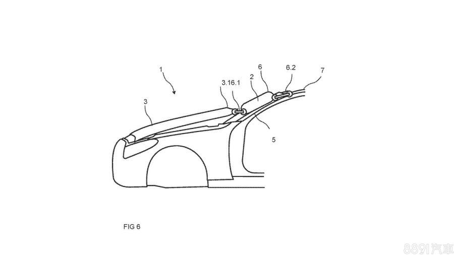
賓士A柱氣囊專利 保護行人

今年8月美國專利與商標局公布了Mercedes-Benz最新的A柱氣囊專利,當車輛與行人發生碰撞時,兩側A柱的氣囊就會彈出,並配合彈起式引擎蓋的作動,讓被撞的行人擁有更多緩衝力道。

這項A 柱氣囊裝置可為行人提供更多的保護、盡可能降低被撞行人的傷害。而這個專利賓士在2015年就已申請,因此或許在未來的不久,可以看到這項新發明運用在量產車上面。
Google特殊黏著劑 將被撞行人黏在車上

Google在自駕車或是安全系統開發一直不遺餘力,去年年中他們推出一項技術,就是當車子撞擊到行人時,透過特殊黏著劑將行人黏在車體上,避免行人被撞飛而造成更嚴重的傷害。

對於這項很有想像力的研發,美國前芝加哥交通局長Gabe Klein表示,此一方案像是另一種類型的安全氣囊,在撞車發生的一瞬間固定住受害者,低速行駛時可以達到一定的保護作用。
ZF中央氣囊牆 保護駕駛與副駕駛安全
德國汽車安全廠商ZF今年6月發表全新安全氣囊「Advanced Farside Center Airbag」,主要是在車輛遭受側撞時,可以讓駕駛與副駕駛多一份保護。

當車輛遭受側撞時,車側氣囊可以避免乘員碰撞到車窗或車柱,不過駕駛與副駕駛之間通常無任何保護,因此可能會在車輛被撞擊時導致互撞造成傷害。

ZF的這項發明就是在前座椅置入氣囊,當車子發生側撞時氣囊就會作動,於駕駛與副駕駛中間形成「保護牆」,避免互撞而降低傷害。
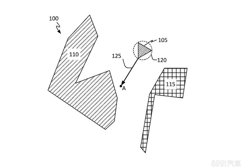
Apple自駕汽車 防撞專利

美國電子巨擘Apple投入汽車自動駕駛技術已有段時間,去年底Apple在美國專利與商標局申請一項自動駕駛專利,名為「避免任意多邊形障礙物」。
這項技術展現了Apple在自駕領域的勇於嘗試,它可以讓自動駕駛車以每秒 60 次的速度來偵測與觀察周圍的路況、環境,並可快速檢測到周圍的移動或靜止障礙物,包括人、車、牆壁等,來進行躲避以避免碰撞。





